一、RTC简介
1. RTC实时时钟特征与原理
RTC (Real Time Clock):实时时钟 ??实时时钟是一个独立的定时器。RTC模块拥有一组连续计数的计数器,在相应软件配置下,可提供时钟日历的功能。修改计数器的值可以重新设置系统当前的时间和日期。 ??RTC模块和时钟配置系统(RCC_BDCR寄存器)处于后备区域,即在系统复位或从待机模式唤醒后, RTC的设置和时间维持不变。 ??系统复位后,对后备寄存器和RTC的访问被禁止,这是为了防止对后备区域(BKP)的意外写操作。执行以下操作将使能对后备寄存器和RTC的访问:
- 设置寄存器RCC_APB1ENR的PWREN和BKPEN位,使能电源和后备接口时钟
- 设置寄存器PWR_CR的DBP位,使能对后备寄存器和RTC的访问。
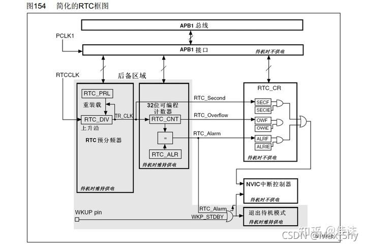
2. RTC组成
- APB1接口:用来和APB1总线相连。通过APB1接口可以访问RTC的相关寄存器(预分频值,计数器值,闹钟值)。
- RTC核心:由一组可编程计数器组成。分两个主要模块。
第一个是RTC预分频模块,它可以编程产生最长1秒的RTC时间基TR_CLK。如果设置了秒中断允许位,可以产生秒中断。 第二个是32位的可编程计数器,可被初始化为当前时间。系统时间按TR_CLK周期累加并与存储在RTC_ALR寄存器中的可编程时间相比,当匹配时候如果设置了闹钟中断允许位,可以产生闹钟中断。  - RTC内核完全独立于APB1接口,软件通过APB1接口对RTC相关寄存器访问。但是相关寄存器只在RTC APB1时钟进行重新同步的RTC时钟的上升沿被更新。所以软件必须先等待寄存器同步标志位(RTC_CRL的RSF位)被硬件置1才读。
二、基于STM32CubeMX建立工程
- 配置
RCC :  - 配置
RTC :  - 设置初始时间
 - 配置
USART1 :  - 生成项目:

三、代码编写
修改main.c 文件
#include "main.h"
#include "rtc.h"
#include "usart.h"
#include "gpio.h"
RTC_DateTypeDef GetData;
RTC_TimeTypeDef GetTime;
void SystemClock_Config(void);
int main(void)
{
HAL_Init();
SystemClock_Config();
MX_GPIO_Init();
MX_RTC_Init();
MX_USART1_UART_Init();
while (1)
{
HAL_RTC_GetTime(&hrtc, &GetTime, RTC_FORMAT_BIN);
HAL_RTC_GetDate(&hrtc, &GetData, RTC_FORMAT_BIN);
printf("%02d/%02d/%02d\r\n",2000 + GetData.Year, GetData.Month, GetData.Date);
printf("%02d:%02d:%02d\r\n",GetTime.Hours, GetTime.Minutes, GetTime.Seconds);
printf("\r\n");
HAL_Delay(1000);
}
}
void SystemClock_Config(void)
{
RCC_OscInitTypeDef RCC_OscInitStruct = {0};
RCC_ClkInitTypeDef RCC_ClkInitStruct = {0};
RCC_PeriphCLKInitTypeDef PeriphClkInit = {0};
RCC_OscInitStruct.OscillatorType = RCC_OSCILLATORTYPE_HSE|RCC_OSCILLATORTYPE_LSE;
RCC_OscInitStruct.HSEState = RCC_HSE_ON;
RCC_OscInitStruct.HSEPredivValue = RCC_HSE_PREDIV_DIV1;
RCC_OscInitStruct.LSEState = RCC_LSE_ON;
RCC_OscInitStruct.HSIState = RCC_HSI_ON;
RCC_OscInitStruct.PLL.PLLState = RCC_PLL_ON;
RCC_OscInitStruct.PLL.PLLSource = RCC_PLLSOURCE_HSE;
RCC_OscInitStruct.PLL.PLLMUL = RCC_PLL_MUL9;
if (HAL_RCC_OscConfig(&RCC_OscInitStruct) != HAL_OK)
{
Error_Handler();
}
RCC_ClkInitStruct.ClockType = RCC_CLOCKTYPE_HCLK|RCC_CLOCKTYPE_SYSCLK
|RCC_CLOCKTYPE_PCLK1|RCC_CLOCKTYPE_PCLK2;
RCC_ClkInitStruct.SYSCLKSource = RCC_SYSCLKSOURCE_PLLCLK;
RCC_ClkInitStruct.AHBCLKDivider = RCC_SYSCLK_DIV1;
RCC_ClkInitStruct.APB1CLKDivider = RCC_HCLK_DIV2;
RCC_ClkInitStruct.APB2CLKDivider = RCC_HCLK_DIV1;
if (HAL_RCC_ClockConfig(&RCC_ClkInitStruct, FLASH_LATENCY_2) != HAL_OK)
{
Error_Handler();
}
PeriphClkInit.PeriphClockSelection = RCC_PERIPHCLK_RTC;
PeriphClkInit.RTCClockSelection = RCC_RTCCLKSOURCE_LSE;
if (HAL_RCCEx_PeriphCLKConfig(&PeriphClkInit) != HAL_OK)
{
Error_Handler();
}
}
void Error_Handler(void)
{
__disable_irq();
while (1)
{
}
}
#ifdef USE_FULL_ASSERT
void assert_failed(uint8_t *file, uint32_t line)
{
}
#endif
四、总结
??本文简单介绍了实时时钟RTC的原理,并基于STM32F103编程实现STM32的日历读取、设置和输出。
五、参考
https://zhuanlan.zhihu.com/p/393918577
|