一、RTC介绍
1.RTC实时时钟特征与原理
RTC (Real Time Clock):实时时钟 ??实时时钟是一个独立的定时器。RTC模块拥有一组连续计数的计数器,在相应软件配置下,可提供时钟日历的功能。修改计数器的值可以重新设置系统当前的时间和日期。 ??RTC模块和时钟配置系统(RCC_BDCR寄存器)处于后备区域,即在系统复位或从待机模式唤醒后, RTC的设置和时间维持不变。 ??系统复位后,对后备寄存器和RTC的访问被禁止,这是为了防止对后备区域(BKP)的意外写操作。执行以下操作将使能对后备寄存器和RTC的访问:
设置寄存器RCC_APB1ENR的PWREN和BKPEN位,使能电源和后备接口时钟 设置寄存器PWR_CR的DBP位,使能对后备寄存器和RTC的访问。
2. RTC组成
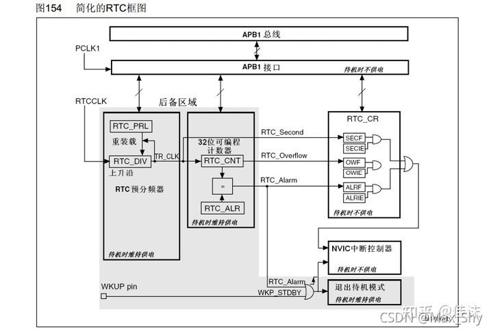
①APB1接口:用来和APB1总线相连。通过APB1接口可以访问RTC的相关寄存器(预分频值,计数器值,闹钟值)。 ②RTC核心:由一组可编程计数器组成。分两个主要模块。 第一个是RTC预分频模块,它可以编程产生最长1秒的RTC时间基TR_CLK。如果设置了秒中断允许位,可以产生秒中断。 第二个是32位的可编程计数器,可被初始化为当前时间。系统时间按TR_CLK周期累加并与存储在RTC_ALR寄存器中的可编程时间相比,当匹配时候如果设置了闹钟中断允许位,可以产生闹钟中断。 
RTC内核完全独立于APB1接口,软件通过APB1接口对RTC相关寄存器访问。但是相关寄存器只在RTC APB1时钟进行重新同步的RTC时钟的上升沿被更新。所以软件必须先等待寄存器同步标志位(RTC_CRL的RSF位)被硬件置1才读。
3.具体流程
RTCCLK经过RTC_DIV预分频,RTC_PRL设置预分频系数,然后得到TR_CLK时钟信号,我们一般设置其周期为1s,RTC_CNT计数器计数,假如1970设置为时间起点为0s,通过当前时间的秒数计算得到当前的时间。RTC_ALR是设置闹钟时间,RTC_CNT计数到RTC_ALR就会产生计数中断,
RTC_Second为秒中断,用于刷新时间, RTC_Overflow是溢出中断。 RTC Alarm 控制开关机
4. 时钟选择
使用HSE分频时钟或者LSI的时候,在主电源VDD掉电的情况下,这两个时钟来源都会受到影响,因此没法保证RTC正常工作.所以RTC一般都时钟低速外部时钟LSE,频率为实时时钟模块中常用的32.768KHz,因为32768 = 2^15,分频容易实现,所以被广泛应用到RTC模块.(在主电源VDD有效的情况下(待机),RTC还可以配置闹钟事件使STM32退出待机模式).
5. 复位过程
除了RTC_PRL、RTC_ALR、RTC_CNT和RTC_DIV寄存器外,所有的系统寄存器都由系统复位或电源复位进行异步复位。
RTC_PRL、RTC_ALR、RTC_CNT和RTC_DIV寄存器仅能通过备份域复位信号复位。
系统复位后,禁止访问后备寄存器和RCT,防止对后卫区域(BKP)的意外写操作
6. 中断
秒中断:
这里时钟自带一个秒中断,每当计数加一的时候就会触发一次秒中断,。注意,这里所说的秒中断并非一定是一秒的时间,它是由RTC时钟源和分频值决定的“秒”的时间,当然也是可以做到1秒钟中断一次。我们通过往秒中断里写更新时间的函数来达到时间同步的效果
闹钟中断:
闹钟中断就是设置一个预设定的值,计数每自加多少次触发一次闹钟中断
二、STM32CUBEMX建立项目
创建一个stm32f103c8的cube工程: ①RCC配置:  ②RTC配置:  ③可选择初始化时间:  ④配置USART1:  ⑤时钟树配置:  ⑥项目配置   生成代码!
三、代码编写
修改main.c文件:
/* USER CODE BEGIN Header */
/**
******************************************************************************
* @file : main.c
* @brief : Main program body
******************************************************************************
* @attention
*
* <h2><center>© Copyright (c) 2021 STMicroelectronics.
* All rights reserved.</center></h2>
*
* This software component is licensed by ST under BSD 3-Clause license,
* the "License"; You may not use this file except in compliance with the
* License. You may obtain a copy of the License at:
* opensource.org/licenses/BSD-3-Clause
*
******************************************************************************
*/
/* USER CODE END Header */
/* Includes ------------------------------------------------------------------*/
#include "main.h"
#include "rtc.h"
#include "usart.h"
#include "gpio.h"
/* Private includes ----------------------------------------------------------*/
/* USER CODE BEGIN Includes */
/* USER CODE END Includes */
/* Private typedef -----------------------------------------------------------*/
/* USER CODE BEGIN PTD */
RTC_DateTypeDef GetData; //获取日期结构体
RTC_TimeTypeDef GetTime; //获取时间结构体
/* USER CODE END PTD */
/* Private define ------------------------------------------------------------*/
/* USER CODE BEGIN PD */
/* USER CODE END PD */
/* Private macro -------------------------------------------------------------*/
/* USER CODE BEGIN PM */
/* USER CODE END PM */
/* Private variables ---------------------------------------------------------*/
/* USER CODE BEGIN PV */
/* USER CODE END PV */
/* Private function prototypes -----------------------------------------------*/
void SystemClock_Config(void);
/* USER CODE BEGIN PFP */
/* USER CODE END PFP */
/* Private user code ---------------------------------------------------------*/
/* USER CODE BEGIN 0 */
/* USER CODE END 0 */
/**
* @brief The application entry point.
* @retval int
*/
int main(void)
{
/* USER CODE BEGIN 1 */
/* USER CODE END 1 */
/* MCU Configuration--------------------------------------------------------*/
/* Reset of all peripherals, Initializes the Flash interface and the Systick. */
HAL_Init();
/* USER CODE BEGIN Init */
/* USER CODE END Init */
/* Configure the system clock */
SystemClock_Config();
/* USER CODE BEGIN SysInit */
/* USER CODE END SysInit */
/* Initialize all configured peripherals */
MX_GPIO_Init();
MX_RTC_Init();
MX_USART1_UART_Init();
/* USER CODE BEGIN 2 */
/* USER CODE END 2 */
/* Infinite loop */
/* USER CODE BEGIN WHILE */
while (1)
{
/* Get the RTC current Time */
HAL_RTC_GetTime(&hrtc, &GetTime, RTC_FORMAT_BIN);
/* Get the RTC current Date */
HAL_RTC_GetDate(&hrtc, &GetData, RTC_FORMAT_BIN);
/* Display date Format : yy/mm/dd */
printf("%02d/%02d/%02d\r\n",2000 + GetData.Year, GetData.Month, GetData.Date);
/* Display time Format : hh:mm:ss */
printf("%02d:%02d:%02d\r\n",GetTime.Hours, GetTime.Minutes, GetTime.Seconds);
printf("\r\n");
HAL_Delay(1000);
}
/* USER CODE END 3 */
}
/**
* @brief System Clock Configuration
* @retval None
*/
void SystemClock_Config(void)
{
RCC_OscInitTypeDef RCC_OscInitStruct = {0};
RCC_ClkInitTypeDef RCC_ClkInitStruct = {0};
RCC_PeriphCLKInitTypeDef PeriphClkInit = {0};
/** Initializes the RCC Oscillators according to the specified parameters
* in the RCC_OscInitTypeDef structure.
*/
RCC_OscInitStruct.OscillatorType = RCC_OSCILLATORTYPE_HSE|RCC_OSCILLATORTYPE_LSE;
RCC_OscInitStruct.HSEState = RCC_HSE_ON;
RCC_OscInitStruct.HSEPredivValue = RCC_HSE_PREDIV_DIV1;
RCC_OscInitStruct.LSEState = RCC_LSE_ON;
RCC_OscInitStruct.HSIState = RCC_HSI_ON;
RCC_OscInitStruct.PLL.PLLState = RCC_PLL_ON;
RCC_OscInitStruct.PLL.PLLSource = RCC_PLLSOURCE_HSE;
RCC_OscInitStruct.PLL.PLLMUL = RCC_PLL_MUL9;
if (HAL_RCC_OscConfig(&RCC_OscInitStruct) != HAL_OK)
{
Error_Handler();
}
/** Initializes the CPU, AHB and APB buses clocks
*/
RCC_ClkInitStruct.ClockType = RCC_CLOCKTYPE_HCLK|RCC_CLOCKTYPE_SYSCLK
|RCC_CLOCKTYPE_PCLK1|RCC_CLOCKTYPE_PCLK2;
RCC_ClkInitStruct.SYSCLKSource = RCC_SYSCLKSOURCE_PLLCLK;
RCC_ClkInitStruct.AHBCLKDivider = RCC_SYSCLK_DIV1;
RCC_ClkInitStruct.APB1CLKDivider = RCC_HCLK_DIV2;
RCC_ClkInitStruct.APB2CLKDivider = RCC_HCLK_DIV1;
if (HAL_RCC_ClockConfig(&RCC_ClkInitStruct, FLASH_LATENCY_2) != HAL_OK)
{
Error_Handler();
}
PeriphClkInit.PeriphClockSelection = RCC_PERIPHCLK_RTC;
PeriphClkInit.RTCClockSelection = RCC_RTCCLKSOURCE_LSE;
if (HAL_RCCEx_PeriphCLKConfig(&PeriphClkInit) != HAL_OK)
{
Error_Handler();
}
}
/* USER CODE BEGIN 4 */
/* USER CODE END 4 */
/**
* @brief This function is executed in case of error occurrence.
* @retval None
*/
void Error_Handler(void)
{
/* USER CODE BEGIN Error_Handler_Debug */
/* User can add his own implementation to report the HAL error return state */
__disable_irq();
while (1)
{
}
/* USER CODE END Error_Handler_Debug */
}
#ifdef USE_FULL_ASSERT
/**
* @brief Reports the name of the source file and the source line number
* where the assert_param error has occurred.
* @param file: pointer to the source file name
* @param line: assert_param error line source number
* @retval None
*/
void assert_failed(uint8_t *file, uint32_t line)
{
/* USER CODE BEGIN 6 */
/* User can add his own implementation to report the file name and line number,
ex: printf("Wrong parameters value: file %s on line %d\r\n", file, line) */
/* USER CODE END 6 */
}
#endif /* USE_FULL_ASSERT */
/************************ (C) COPYRIGHT STMicroelectronics *****END OF FILE****/
在:
/* Display date Format : yy/mm/dd */
printf("%02d/%02d/%02d\r\n",2000 + GetData.Year, GetData.Month, GetData.Date);
后添加:
/* Display date Format : weekday */
if(GetData.WeekDay==1){
printf("星期一\r\n");
}else if(GetData.WeekDay==2){
printf("星期二\r\n");
}else if(GetData.WeekDay==3){
printf("星期三\r\n");
}else if(GetData.WeekDay==4){
printf("星期四\r\n");
}else if(GetData.WeekDay==5){
printf("星期五\r\n");
}else if(GetData.WeekDay==6){
printf("星期六\r\n");
}else if(GetData.WeekDay==7){
printf("星期日\r\n");
}
编译:  运行效果: 
四、总结
本文简单介绍了实时时钟RTC的原理,并基于STM32F103编程实现STM32的日历读取、设置和输出。
五、参考
https://www.cnblogs.com/dreamrj/p/14046598.html https://blog.csdn.net/as480133937/article/details/105741893
|