一、RTC
STM32 RTC 时钟简介
-
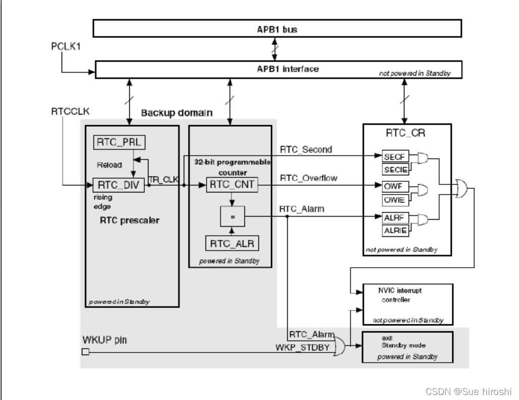
实时时钟( RTC)是一个独立的定时器。 RTC 模块拥有一组连续计数的计数器,在相应软 件配置下,可提供时钟日历的功能。修改计数器的值可以重新设置系统当前的时间和日期。 RTC 模块和时钟配置系统(RCC_BDCR 寄存器)是在后备区域,即在系统复位或从待机模式唤醒 后 RTC 的设置和时间维持不变。但是在系统复位后,会自动禁止访问后备寄存器和 RTC,以 防止对后备区域(BKP)的意外写操作。所以在要设置时间之前, 先要取消备份区域( BKP)写 保护。RTC 由两个主要部分组成(见下图)。第一部分(APB1 接口)用来和 APB1 总线相连。此单元 还包含一组 16 位寄存器,可通过 APB1 总线对其进行读写操作。 APB1 接口由 APB1 总线时钟 驱动,用来与 APB1 总线接口。 另一部分(RTC 核心)由一组可编程计数器组成,分成两个主要模块。第一个模块是 RTC 的 预分频模块,它可编程产生最长为 1 秒的 RTC 时间基准 TR_CLK。 RTC 的预分频模块包含了 一个 20 位的可编程分频器(RTC 预分频器)。如果在 RTC_CR 寄存器中设置了相应的允许位, 则在每个 TR_CLK 周期中 RTC 产生一个中断(秒中断)。第二个模块是一个 32 位的可编程计数 器,可被初始化为当前的系统时间,一个 32 位的时钟计数器,按秒钟计算,可以记录 4294967296 秒,约合 136 年左右,作为一般应用,这已经是足够了的。 RTC 还有一个闹钟寄存器 RTC_ALR,用于产生闹钟。系统时间按 TR_CLK 周期累加并与 存储在 RTC_ALR 寄存器中的可编程时间相比较,如果 RTC_CR 控制寄存器中设置了相应允许 -
实时时钟( RTC)是一个独立的定时器。 RTC 模块拥有一组连续计数的计数器,在相应软 件配置下,可提供时钟日历的功能。修改计数器的值可以重新设置系统当前的时间和日期。 RTC 模块和时钟配置系统(RCC_BDCR 寄存器)是在后备区域,即在系统复位或从待机模式唤醒 后 RTC 的设置和时间维持不变。但是在系统复位后,会自动禁止访问后备寄存器和 RTC,以 防止对后备区域(BKP)的意外写操作。所以在要设置时间之前, 先要取消备份区域( BKP)写 保护。 RTC 由两个主要部分组成(见下图)。第一部分(APB1 接口)用来和 APB1 总线相连。此单元 还包含一组 16 位寄存器,可通过 APB1 总线对其进行读写操作。 APB1 接口由 APB1 总线时钟 驱动,用来与 APB1 总线接口。 另一部分(RTC 核心)由一组可编程计数器组成,分成两个主要模块。第一个模块是 RTC 的 预分频模块,它可编程产生最长为 1 秒的 RTC 时间基准 TR_CLK。 RTC 的预分频模块包含了 一个 20 位的可编程分频器(RTC 预分频器)。如果在 RTC_CR 寄存器中设置了相应的允许位, 则在每个 TR_CLK 周期中 RTC 产生一个中断(秒中断)。第二个模块是一个 32 位的可编程计数 器,可被初始化为当前的系统时间,一个 32 位的时钟计数器,按秒钟计算,可以记录 4294967296 秒,约合 136 年左右,作为一般应用,这已经是足够了的。 RTC 还有一个闹钟寄存器 RTC_ALR,用于产生闹钟。系统时间按 TR_CLK 周期累加并与 存储在 RTC_ALR 寄存器中的可编程时间相比较,如果 RTC_CR 控制寄存器中设置了相应允许 位,比较匹配时将产生一个闹钟中断。 
二、CubeMX程序实现
-
设置RCC  -
配置RTC  -
同时在NVIC中勾选Enabled  -
配置串口  -
配置时钟 


三、代码
#include "main.h"
#include "rtc.h"
#include "usart.h"
#include "gpio.h"
void SystemClock_Config(void);
int main(void)
{
RTC_DateTypeDef GetData;
RTC_TimeTypeDef GetTime;
HAL_Init();
SystemClock_Config();
MX_GPIO_Init();
MX_RTC_Init();
MX_USART1_UART_Init();
while (1)
{
HAL_RTC_GetTime(&hrtc, &GetTime, RTC_FORMAT_BIN);
HAL_RTC_GetDate(&hrtc, &GetData, RTC_FORMAT_BIN);
printf("%02d/%02d/%02d\r\n",2000 + GetData.Year, GetData.Month, GetData.Date);
printf("%02d:%02d:%02d\r\n",GetTime.Hours, GetTime.Minutes, GetTime.Seconds);
printf("\r\n");
HAL_Delay(1000);
}
}
void SystemClock_Config(void)
{
RCC_OscInitTypeDef RCC_OscInitStruct = {0};
RCC_ClkInitTypeDef RCC_ClkInitStruct = {0};
RCC_PeriphCLKInitTypeDef PeriphClkInit = {0};
RCC_OscInitStruct.OscillatorType = RCC_OSCILLATORTYPE_LSI|RCC_OSCILLATORTYPE_HSE;
RCC_OscInitStruct.HSEState = RCC_HSE_ON;
RCC_OscInitStruct.HSEPredivValue = RCC_HSE_PREDIV_DIV1;
RCC_OscInitStruct.HSIState = RCC_HSI_ON;
RCC_OscInitStruct.LSIState = RCC_LSI_ON;
RCC_OscInitStruct.PLL.PLLState = RCC_PLL_ON;
RCC_OscInitStruct.PLL.PLLSource = RCC_PLLSOURCE_HSE;
RCC_OscInitStruct.PLL.PLLMUL = RCC_PLL_MUL2;
if (HAL_RCC_OscConfig(&RCC_OscInitStruct) != HAL_OK)
{
Error_Handler();
}
RCC_ClkInitStruct.ClockType = RCC_CLOCKTYPE_HCLK|RCC_CLOCKTYPE_SYSCLK
|RCC_CLOCKTYPE_PCLK1|RCC_CLOCKTYPE_PCLK2;
RCC_ClkInitStruct.SYSCLKSource = RCC_SYSCLKSOURCE_PLLCLK;
RCC_ClkInitStruct.AHBCLKDivider = RCC_SYSCLK_DIV1;
RCC_ClkInitStruct.APB1CLKDivider = RCC_HCLK_DIV2;
RCC_ClkInitStruct.APB2CLKDivider = RCC_HCLK_DIV1;
if (HAL_RCC_ClockConfig(&RCC_ClkInitStruct, FLASH_LATENCY_0) != HAL_OK)
{
Error_Handler();
}
PeriphClkInit.PeriphClockSelection = RCC_PERIPHCLK_RTC;
PeriphClkInit.RTCClockSelection = RCC_RTCCLKSOURCE_LSI;
if (HAL_RCCEx_PeriphCLKConfig(&PeriphClkInit) != HAL_OK)
{
Error_Handler();
}
}
void Error_Handler(void)
{
__disable_irq();
while (1)
{
}
}
#ifdef USE_FULL_ASSERT
void assert_failed(uint8_t *file, uint32_t line)
{
}
#endif
|