基于虚拟设备分析Docker Bridge底层网络原理
实验环境:Centos7.9,NAT网卡 192.168.0.10,网关192.168.0.2

创建namespace和veth
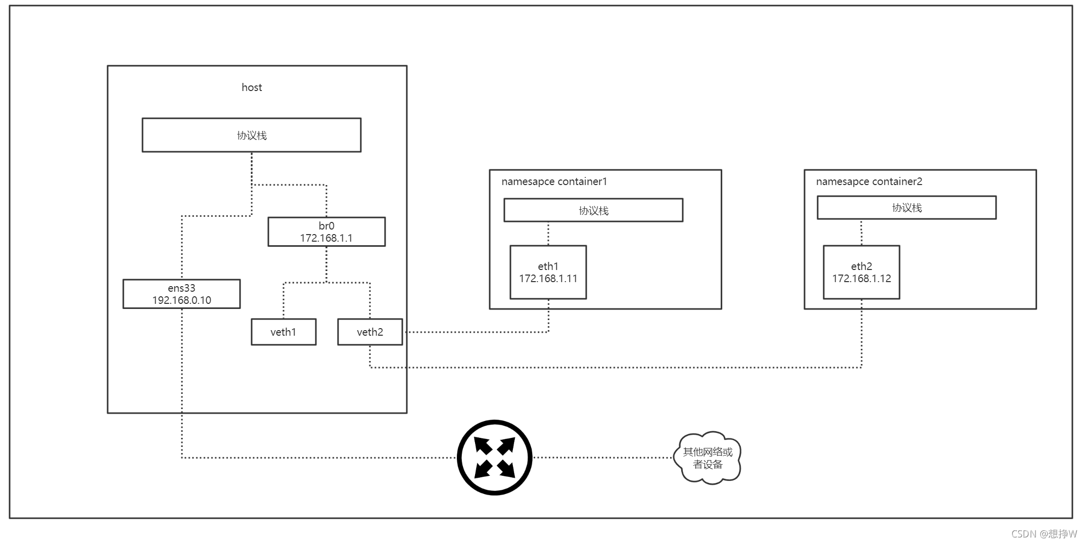
Docker 容器的网络如果设置为 bridge 模式,则那个容器就会拥有一个独立的网络命名空间(Network Namespace),一个新建的网络命名空间,其中只有一个为 DOWN 状态的 lo 网卡
Docker 随后创建一对虚拟以太网卡(Virtual Ethernet),由于其是成对存在的,所以这种设备一般称为 veth pair 。在它的一端发送的数据会在另外一端接收,类似于Linux的双向管道。Docker 会创建一对 veth,将一个移至容器命名空间中,将另一个挂到 Docker 自己创建的网桥 docker0 上。
ip netns add container1
ip netns add container2
ip link add veth1 type veth peer name eth1
ip link add veth2 type veth peer name eth2
ip link set eth1 netns container1
ip link set eth2 netns container2
ip netns exec container1 ip addr add 172.168.1.11/24 dev eth1
ip netns exec container2 ip addr add 172.168.1.12/24 dev eth2
ip netns exec container1 ip link set eth1 up
ip netns exec container2 ip link set eth2 up
ip link set veth1 up
ip link set veth2 up
ip netns exec container1 ip link set lo up
ip netns exec container2 ip link set lo up
[root@boy ~]
1: lo: <LOOPBACK,UP,LOWER_UP> mtu 65536 qdisc noqueue state UNKNOWN group default qlen 1000
link/loopback 00:00:00:00:00:00 brd 00:00:00:00:00:00
inet 127.0.0.1/8 scope host lo
valid_lft forever preferred_lft forever
inet6 ::1/128 scope host
valid_lft forever preferred_lft forever
2: ens33: <BROADCAST,MULTICAST,UP,LOWER_UP> mtu 1500 qdisc pfifo_fast state UP group default qlen 1000
link/ether 00:0c:29:c4:ad:69 brd ff:ff:ff:ff:ff:ff
inet 192.168.0.10/24 brd 192.168.0.255 scope global noprefixroute ens33
valid_lft forever preferred_lft forever
inet6 fe80::624c:c1db:e3b4:9165/64 scope link noprefixroute
valid_lft forever preferred_lft forever
4: veth1@if3: <BROADCAST,MULTICAST,UP,LOWER_UP> mtu 1500 qdisc noqueue master br0 state UP group default qlen 1000
link/ether 8e:15:02:5b:1b:70 brd ff:ff:ff:ff:ff:ff link-netnsid 0
inet6 fe80::8c15:2ff:fe5b:1b70/64 scope link
valid_lft forever preferred_lft forever
6: veth2@if5: <BROADCAST,MULTICAST,UP,LOWER_UP> mtu 1500 qdisc noqueue master br0 state UP group default qlen 1000
link/ether 6e:7b:d0:04:b4:1f brd ff:ff:ff:ff:ff:ff link-netnsid 1
inet6 fe80::6c7b:d0ff:fe04:b41f/64 scope link
valid_lft forever preferred_lft forever
7: br0: <BROADCAST,MULTICAST,UP,LOWER_UP> mtu 1500 qdisc noqueue state UP group default qlen 1000
link/ether 6e:7b:d0:04:b4:1f brd ff:ff:ff:ff:ff:ff
inet 172.168.1.1/24 scope global br0
valid_lft forever preferred_lft forever
inet6 fe80::6c7b:d0ff:fe04:b41f/64 scope link
valid_lft forever preferred_lft forever
[root@boy ~]
1: lo: <LOOPBACK> mtu 65536 qdisc noop state DOWN group default qlen 1000
link/loopback 00:00:00:00:00:00 brd 00:00:00:00:00:00
3: eth1@if4: <BROADCAST,MULTICAST,UP,LOWER_UP> mtu 1500 qdisc noqueue state UP group default qlen 1000
link/ether c2:23:9b:67:b4:b5 brd ff:ff:ff:ff:ff:ff link-netnsid 0
inet 172.168.1.11/24 scope global eth1
valid_lft forever preferred_lft forever
inet6 fe80::c023:9bff:fe67:b4b5/64 scope link
valid_lft forever preferred_lft forever
[root@boy ~]
1: lo: <LOOPBACK> mtu 65536 qdisc noop state DOWN group default qlen 1000
link/loopback 00:00:00:00:00:00 brd 00:00:00:00:00:00
5: eth2@if6: <BROADCAST,MULTICAST,UP,LOWER_UP> mtu 1500 qdisc noqueue state UP group default qlen 1000
link/ether ba:ee:58:ec:45:52 brd ff:ff:ff:ff:ff:ff link-netnsid 0
inet 172.168.1.12/24 scope global eth2
valid_lft forever preferred_lft forever
inet6 fe80::b8ee:58ff:feec:4552/64 scope link
valid_lft forever preferred_lft forever
添加Bridge
? 网桥(bridge)虚拟设备用来桥接网络设备,相当于现实世界中的交换机,可以将网卡接到它上面。下面将留在默认命名空间中的两个虚拟网卡(veth1,veth2)接到自己创建的网桥
ip link add br0 type bridge
ip link set br0 up
ip link set veth1 master br0
ip link set veth2 master br0
[root@boy ~]
bridge name bridge id STP enabled interfaces
br0 8000.6e7bd004b41f no veth1
veth2
ip addr add 172.168.1.1/24 dev br0
添加路由
route add -net 172.168.1.0/24 dev br0
ip netns exec container1 ip route add default via 172.168.1.1 dev eth1
ip netns exec container2 ip route add default via 172.168.1.1 dev eth2
===========
[root@boy ~]
Kernel IP routing table
Destination Gateway Genmask Flags Metric Ref Use Iface
0.0.0.0 192.168.0.2 0.0.0.0 UG 100 0 0 ens33
172.168.1.0 0.0.0.0 255.255.255.0 U 0 0 0 br0
192.168.0.0 0.0.0.0 255.255.255.0 U 100 0 0 ens33
[root@boy ~]
Kernel IP routing table
Destination Gateway Genmask Flags Metric Ref Use Iface
0.0.0.0 172.168.1.1 0.0.0.0 UG 0 0 0 eth1
172.168.1.0 0.0.0.0 255.255.255.0 U 0 0 0 eth1
[root@boy ~]
Kernel IP routing table
Destination Gateway Genmask Flags Metric Ref Use Iface
0.0.0.0 172.168.1.1 0.0.0.0 UG 0 0 0 eth2
172.168.1.0 0.0.0.0 255.255.255.0 U 0 0 0 eth2
[root@boy ~]
PING 172.168.1.11 (172.168.1.11) 56(84) bytes of data.
64 bytes from 172.168.1.11: icmp_seq=1 ttl=64 time=0.021 ms
64 bytes from 172.168.1.11: icmp_seq=2 ttl=64 time=0.046 ms
^C
--- 172.168.1.11 ping statistics ---
2 packets transmitted, 2 received, 0% packet loss, time 1009ms
rtt min/avg/max/mdev = 0.021/0.033/0.046/0.013 ms
[root@boy ~]
PING 172.168.1.12 (172.168.1.12) 56(84) bytes of data.
64 bytes from 172.168.1.12: icmp_seq=1 ttl=64 time=0.043 ms
64 bytes from 172.168.1.12: icmp_seq=2 ttl=64 time=0.083 ms
^C
--- 172.168.1.12 ping statistics ---
2 packets transmitted, 2 received, 0% packet loss, time 1004ms
rtt min/avg/max/mdev = 0.043/0.063/0.083/0.020 ms
[root@boy ~]
PING 172.168.1.11 (172.168.1.11) 56(84) bytes of data.
64 bytes from 172.168.1.11: icmp_seq=1 ttl=64 time=0.013 ms
^C
--- 172.168.1.11 ping statistics ---
1 packets transmitted, 1 received, 0% packet loss, time 0ms
rtt min/avg/max/mdev = 0.013/0.013/0.013/0.000 ms
[root@boy ~]
PING 172.168.1.1 (172.168.1.1) 56(84) bytes of data.
64 bytes from 172.168.1.1: icmp_seq=1 ttl=64 time=0.029 ms
^C
--- 172.168.1.1 ping statistics ---
1 packets transmitted, 1 received, 0% packet loss, time 0
[root@boy ~]
PING 192.168.0.10 (192.168.0.10) 56(84) bytes of data.
64 bytes from 192.168.0.10: icmp_seq=1 ttl=64 time=0.026 ms
64 bytes from 192.168.0.10: icmp_seq=2 ttl=64 time=0.091 ms
^C
--- 192.168.0.10 ping statistics ---
2 packets transmitted, 2 received, 0% packet loss, time 1005ms
rtt min/avg/max/mdev = 0.026/0.058/0.091/0.033 ms
下边关于容器分析了
[root@boy ~]
PING 192.168.0.2 (192.168.0.2) 56(84) bytes of data.
^C
--- 192.168.0.2 ping statistics ---
2 packets transmitted, 0 received, 100% packet loss, time 1012ms
[root@boy ~]
tcpdump: verbose output suppressed, use -v or -vv for full protocol decode
[root@boy ~]
PING 192.168.0.2 (192.168.0.2) 56(84) bytes of data.
^C
--- 192.168.0.2 ping statistics ---
44 packets transmitted, 0 received, 100% packet loss, time 43254ms
[root@boy ~]
tcpdump: verbose output suppressed, use -v or -vv for full protocol decode
listening on ens33, link-type EN10MB (Ethernet), capture size 262144 bytes
05:53:20.167099 IP 172.168.1.11 > 192.168.0.2: ICMP echo request, id 2505, seq 39, length 64
05:53:21.168456 IP 172.168.1.11 > 192.168.0.2: ICMP echo request, id 2505, seq 40, length 64
05:53:22.171285 IP 172.168.1.11 > 192.168.0.2: ICMP echo request, id 2505, seq 41, length 64
05:53:23.171907 IP 172.168.1.11 > 192.168.0.2: ICMP echo request, id 2505, seq 42, length 64
通过上边可以看出,ICMP request在开启ip_forward后,被转发到ens33,但是为什么没有ICMP reply?,当源地址为172.168.1.11,目的地址为192.168.0.2发送到网关后,构建的reply包的目的地址为172.168.1.11,故而看不到ICMPreply包
添加masqurade
[root@boy ~]
Chain INPUT (policy ACCEPT)
target prot opt source destination
Chain FORWARD (policy ACCEPT)
target prot opt source destination
Chain OUTPUT (policy ACCEPT)
target prot opt source destination
iptables 有五个链(chain),这里的 FORWARD 链用于处理转发到其他机器 / network namespace 的数据包,这里的默认 policy 为 ACCEPT ,所以从 container1 到 container2 的数据包就会被转发,如果这里DROP了,请打开
iptables -t filter --policy FORWARD ACCEPT
iptables -t nat -A POSTROUTING -s 172.168.1.0/24 -o ens33 -j MASQUERADE
[root@boy ~]
Chain PREROUTING (policy ACCEPT)
target prot opt source destination
Chain INPUT (policy ACCEPT)
target prot opt source destination
Chain OUTPUT (policy ACCEPT)
target prot opt source destination
Chain POSTROUTING (policy ACCEPT)
target prot opt source destination
MASQUERADE all -- 172.168.1.0/24 0.0.0.0/0
[root@boy ~]
PING 114.114.114.114 (114.114.114.114) 56(84) bytes of data.
64 bytes from 114.114.114.114: icmp_seq=1 ttl=127 time=31.2 ms
64 bytes from 114.114.114.114: icmp_seq=2 ttl=127 time=40.6 ms
64 bytes from 114.114.114.114: icmp_seq=3 ttl=127 time=41.2 ms
添加DNAT
ip netns exec container1 python3 -m http.server 80
ip netns exec container2 python3 -m http.server 80
[root@boy ~]
HTTP/1.0 200 OK
Server: SimpleHTTP/0.6 Python/3.6.8
Date: Fri, 27 Aug 2021 14:02:03 GMT
Content-type: text/html; charset=utf-8
Content-Length: 715
[root@boy ~]
HTTP/1.0 200 OK
Server: SimpleHTTP/0.6 Python/3.6.8
Date: Fri, 27 Aug 2021 14:02:11 GMT
Content-type: text/html; charset=utf-8
Content-Length: 715
iptables -t nat -A PREROUTING -p tcp --dport 8888 -j DNAT --to-destination 172.168.1.11:80
iptables -t nat -A PREROUTING -p tcp --dport 9999 -j DNAT --to- 172.168.1.12:80
C:\Users\xxxx>tcping 192.168.0.10 9999
Probing 192.168.0.10:9999/tcp - Port is open - time=1.914ms
Probing 192.168.0.10:9999/tcp - Port is open - time=1.118ms
Control-C
C:\Users\JiaYu>tcping 192.168.0.10 8888
Probing 192.168.0.10:8888/tcp - Port is open - time=1.186ms
Control-C
[root@boy ~]
curl: (7) Failed connect to 192.168.0.10:8888; Connection refused
[root@boy ~]
tcpdump: verbose output suppressed, use -v or -vv for full protocol decode
listening on lo, link-type EN10MB (Ethernet), capture size 262144 bytes
10:30:58.163745 IP 192.168.0.10.46652 > 192.168.0.10.ddi-tcp-1: Flags [S], seq 319318494, win 43690, options [mss 65495,sackOK,TS val 3112213 ecr 0,nop,wscale 7], length 0
10:30:58.163755 IP 192.168.0.10.ddi-tcp-1 > 192.168.0.10.46652: Flags [R.], seq 0, ack 319318495, win 0, length 0
至此docker的bridge流量进去与出去都模拟成功,希望该实验能让各位读者进一步了解docker底层网络通信过程
|