|
前面说了环境的搭建,zabbix的安装及常见问题的处理方法,今天我们来开始实战zabbix用snmp监控h3c交换机的配置,废话不多说开始!
一、配置开启交换机的snmp
用telnet或ssh登录交换机,下面是我的配置过程,每个命令上都写了说明。
<H3C>sys
Enter system view, return user view with Ctrl+Z.
[H3C]un in en
Info: Information center is disabled.
[H3C]snmp-agent
[H3C]snmp-agent community read test
[H3C]snmp-agent sys-info version ?
all Enable the device to support SNMPv1, SNMPv2c and SNMPv3
v1 Enable the device to support SNMPv1
v2c Enable the device to support SNMPv2c
v3 Enable the device to support SNMPv3
[H3C]snmp-agent sys-info version v2c
到这为止,交换机上的snmp配置完成了!如果开了web,也可以用web方式来打开,我们这里就不说了。
二、在服务器上安装snmp
1、安装snmp
dnf install net-snmp net-snmp-utils -y
2、修改配置文件
nano /etc/snmp/snmpd.conf
找到:
view systemview included .1.3.6.1.2.1.1
view systemview included .1.3.6.1.2.1.25.1.1
在下面添加一行,view systemview included .1:
view systemview included .1.3.6.1.2.1.1
view systemview included .1.3.6.1.2.1.25.1.1
view systemview included .1
3、启动snmp
systemctl start snmpd
systemctl enable snmpd
4、测试一下我们安装的snmp以及刚才我们配置的交换机
snmpwalk -v 2c -c test 192.168.10.254
 行了,这一步已经说明了snmp安装OK,交换机snmp配置OK,现在就进入下一步,配置zabbix了!
三、在zabbix里添加snmp主机 1、导入H3C模板 登录zabbix,在左边的菜单中依次选择【配置】=》【模板】,点击右上角【导入】; 这个模板我参考了官方了snmp和其他网友的模板,自己做的。主要监控cup和内存的利用率及各端口的状态,模板可以在本文最下面下载。
2、添加主机 在左边的菜单中依次选择【配置】=》【主机】,点击右上角【创建】;  在interface下点击添加,输入IP地址和版本号,以及团体名称,上图的团体名称用了宏变量。端口为161(默认)不用管。
填写完毕后,不要急着点添加提交,选择【模板】选项卡,在选择我们刚才导入的模板。  如果在主机那项的团体名称用了默认的宏,需要再点击【宏】选项卡,设置一下。  最后,点击添加,完成配置。
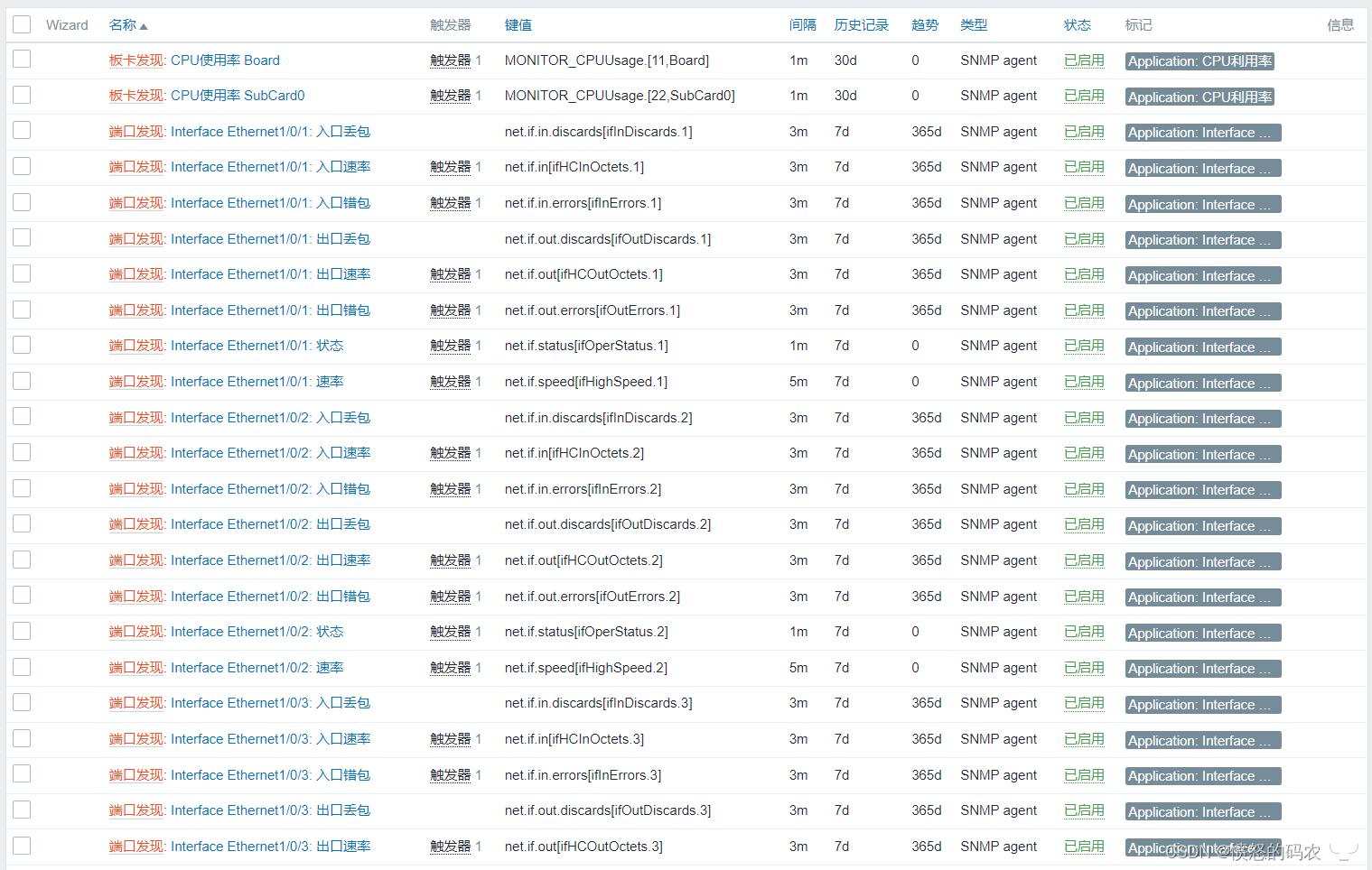
现在我们可以在列表里面看到我们刚刚配置好的主机,点击【自动发现】;
 进入【自动发现】后,选择两个自动发现项,然后点击【现在执行】按钮,让zabbix马上执行自动发现。  。。。。。。。。等。。。。。。。。。等了几分钟后,你就可以发现监控项多了好多条记录了,点击【监控项】你就可以看到交换机的信息了。 
到此为止,本文的内容已经结束。只要把模板导入了,一切都简单,难就难在每个品牌的mib不一样,这个需要自己去找了,我们单位只用H3C,所以~~~哈哈,我还是比较幸运的!!
预告下期内容:【CentOS Stream 8 安装 Zabbix6.0系列】:五、在Zabbix里创建拓扑图
下期内容更新时间可能要往后推几天,因为用图文来写比较麻烦,如果录视频的话,会简单些,可惜~~~~我的普通话,算了!!还是写图文吧!!最后送上H3C的模板
华三交换机通用模板
|