1.从哪里开始?
下图是AM335X核心板和功能框图:  AM335X核心板的存储信息如下:  AM335X核心板运行linux系统,在这里提出一个问题:
上电后指令从哪里开始执行? DDR or EMMC?
2.linux启动
Linux启动是一个比较复杂的过程,分为几个阶段:  启动过程可以类比成青蛙的成长过程,,特点如下: 1、从小变大。 2、从简单到复杂。 Linux启动过程复杂,本文将重点描述讲从ROM BOOT 到kernel运行的过程(Linux运行原理极其复杂,不是本文的描述重点)。
3.ROM BOOT是什么
我们知道:指令只能在片内执行(XIP)存储器上执行。XIP存储器有以下3类:  由于SDRAM上电后没有初始化,而EEMC NAND FLASH不是XIP存储器,因此上电后指令无法在DDR和EMMC上执行。
ROM BOOT又称为ROM CODE,是由处理器厂家固化到芯片内部ROM中的一段代码。其功能是对处理器进行初始化,识别加载boot loader到片内RAM,最后跳转执行boot loader。
因此回答了前文提出的问题,上电后指令不是从DDR 和 EMMC中执行,而是从芯片内部ROM中执行。
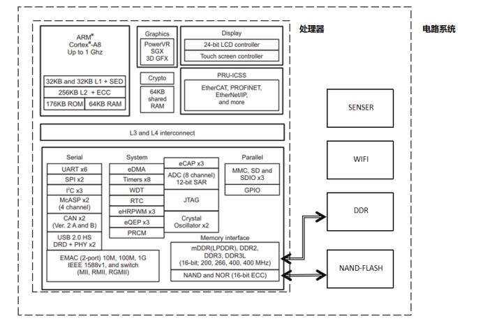
处理器中有下图是AM335X系列处理器的功能框图:  仔细观察AM335X系列处理器的功能框图能否发现176KB ROM和 64KB RAM?
这就是处理器中有的On-Chip ROM和RAM,On-Chip ROM中有处理器厂家固化到芯片内部ROM中的一段代码(记住是芯片厂家固化的代码,用户无法修改),上电后第一条指令是从On-Chip ROM里开始执行。On-Chip ROM内固化的程序称为ROM CODE(厂家固化到片内ROM中的CODE)。
On-Chip ROM和RAM
on-chip ROM 和RAM的空间映射图如下:   on-chip ROM中固化了处理器厂家的ROM CODE代码,on-chip RAM中有一段Download Image空间,这个空间用于加载boot loader代码。  ROM BOOT(ROM CODE)有以下两个重要功能: 1、完成处理器初始化工作。 2、识别加载boot loader到片内RAM,然后跳转执行boot loader。
上电后电路系统有效工作部分如下: 
4.ROM BOOT工作流程
下图是AM335X系列处理器ROM CODE的软件构架框图。  软件构架分成三层: 1、高层,高层负责的主要任务:看门狗和时钟配置和主引导程序。 2、驱动层,驱动层为系统中的任何引导设备实现逻辑和通信协议。 3、硬件抽象层(HAL),硬件抽象层实现了与硬件外设交互的最低级别代码。
ROM CODE的流程图如下:  执行ROM CODE初始化后电路系统有效工作部分如下:  ROM CODE在Booting阶段会根据BOOT配置引脚的电平信号选择BOOT的方式,下图是AM335X系列处理器的可选BOOT方式。  ROM CODE核心工作是:加载boot loader到On-Chip RAM(通常情况下boot loader是指的u-boot,下文将用u-boot代替)。boot loader 有一个特定的头部标记,ROM CODE识别头部标记并正确加载u-boot。
根据On-Chip RAM大小不同,加载u-boot方式有所不同: 1、大体积On-Chip RAM(如512K) ,一次性加载u-boot到On-Chip RAM,跳转并执行执行boot loader。 2、小体积On-Chip RAM(如64K),分段加载u-boot,先加载mini boot(u-boot第一段),跳转并执行mini boot。
总结ROM BOOT(ROM CODE)三个重要特点: 1、上电后从ROM BOOT开始执行。 2、ROM BOOT为芯片厂家固化在处理器内部的代码,用户无法修改。 3、ROM BOO的核心工作就是识别和加载u-boot,并跳转执行u-boot。
5.U-BOOT
通常情况下On-Chip RAM都为小体积,u-boot采用分段加载。一次性加载的u-boot,和分段加的u-boot类似,我们这里详细讲解较为复杂的u-boot分段加载方式。
u-boot分段加载通常情况下分为以下两步: 1、加载小体积的mini boot(u-boot第一段)。 2、加载u-boot第二段。
mini boot
mini boot被加载到On-Chip RAM后被执行,mini boot将完成以下工作: 1、初始化外设(最重要的外设是DDR) 2、加载u-boot第二段到DDR内存中,跳转并执行u-boot第二段。 执行mini boot后电路系统有效工作部分如下:  mini boot代码的起始地址为NAND-FLASH的0x0000 , mini boot 有一个特定的头部标记,提供给ROM CODE识别。TI芯片手册提供的boot头信息如下图: 
u-boot第二段
u-boot(后面用u-boot指代u-boot第二段)被加载到内存中后开始执行,u-boot主要工作如下: 1、完成外部设备初始化。 2、加载内核Image到内存。 3、最后通过bootm命令跳转并执行内核。
执行u-boot后电路系统有效工作部分如下:  u-boot完成加载内核后通过会打印以下类似信息:
## Booting kernel from Legacy Image at 20000000 ...
Image Name: Linux-3.0.8-FriendlyARM
Image Type: ARM Linux Kernel Image (uncompressed)
Data Size: 4801116 Bytes = 4.6 MiB
Load Address: 20008000
Entry Point: 20008000
Verifying Checksum ... OK
Loading Kernel Image ... OK
Starting kernel ...
接下来就进入Linux内核了。
6.start_kernel
通常情况下Linux内核Image为一个压缩的Image,当然这个压缩的Image并不是一个完全的压缩的Image,该Image中包含了一个未被压缩的解压程序,这样可以运行解压程序对Image进行解压。 
加载压缩Image再解压执行的方式有以下两个优势: 1、压缩的Image体积小,可以节省存储空间。 2、将压缩的Image加载到内存,然后解压得到可执行Image的总时间,小于直接从存储器将可执行Image加载到内存。
可以说是又“小”又“快”,真是香! 
u-boot完成加载内核后,跳转并执行内核程序,内核程序是从boot/compressed目录下的head.s文件中的start处开始执行,这部分代码的主要工作就是解压Image 。 完成解压后会输出以下信息:
Uncompressing Linux...done, booting the kernel
解压工作完成后,加载__enter_kernel到PC指针进入真正的内核,内核开始运行,这个入口在arch/arm/kernel/head.s 汇编代码中。
在arch/arm/kernel/head-common.s中通过“b start_kernel”执行跳转到 start_kernel函数,从此进入与处理器硬件体系无关的C语言世界! 
start_kernel函数在Linux内核的init目录下的main.c文件中 ,start_kernel 完成了linux内核的初始化工作,并执行rest_init函数。
rest_init函数中创建kernel_init进程和kthread进程。
start_kernel执行流程如下:  Linux博大精深,极其复杂,本文就不深入讲解。
未完待续… 实时操作系统系列将持续更新 创作不易希望朋友们点赞,转发,评论,关注。 您的点赞,转发,评论,关注将是我持续更新的动力 作者:李巍 Github:liyinuoman2017 CSDN:liyinuo2017 今日头条:程序猿李巍
|