|
在划定测试范围之后,进入信息收集阶段,渗透人员可以通过各种公开资源获取测试目标的相关信息,比如论坛,公告板,新闻组,媒体文章,博客,谷歌,雅虎等等。
收集的信息主要包括DNS服务器,路由关系,whois数据库,电子邮件地址,电话号码,个人信息,用户账户等。收集的信息越多,渗透测试成功率越高。
测试网站: testfire.net vulnweb.com
一、DNS信息收集
whois查询 查询域名注册信息
kail系统内自己集成了这个工具,windows中可能需要安装一下这个小工具  查询格式
whois 域名
尽量查询根域名,子域名可能查询不到。
站长之家查询
whois.chinaz.com  站长之家有邮箱的,电话的反查。可以反查这些电话邮箱注册过哪些域名。
子域名查询
可以查询子域名的网站: https://searchdns.netcraft.com/ 比如查baidu.com 
域传送漏洞
主从服务器 主从服务器可以在一台服务器出现故障的情况下,另外一台服务器完全无缝衔接,没有给用户产生影响。 建立一个和主数据库完全一样的数据库环境,称为从数据库,主数据库一般是准实时的业务数据库。一台服务器充当主服务器,而另外一台服务器充当从服务器。 主从服务器的优势:①实现服务器负载均衡;②通过复制实现数据的异地备份;③提高数据库系统的可用性。
DNS 区域传送(DNS zone transfer) 一台备用的服务器使用来自主服务器的数据刷新自己的域数据库。这为运行中的DNS服务提供了一定的冗余度,其目的是为了防止主域名服务器因为故障变得不可用时影响整个域名解析。 一般而言,DNS区域传送操作只在网络里真的有备用域名DNS服务器时才有必要用到,但许多DNS服务器却被错误地配置成只要有client发出请求,就会向对方提供一个zone数据库的详细信息(就是没有证书,要,就给),所以说允许不受信任的因特网用户执行DNS区域传送(zone transfer) 操作是后果最为严重的错误配置之一。
可以使用dig工具来检测域传送漏洞,(dig在kail里面有)
[dig axfr @dns.exampLe.com exampLe.com]
windows里面可以使用nslookup  通过域传送漏洞能够得到:子域名信息和子域名对应的IP地址。
| 符号 | 含义 |
|---|
| A记录 | IP地址记录,记录一个域名对应的IP地址 | | AAAA记录 | IPV6地址记录,记录一个域名对应的IPV6地址 | | CNAME记录 | 别名记录,记录一个主机的别名 | | MX记录 | 电子邮件交换记录,记录一个邮件域名对应的IP地址 | | NS记录 | 域名服务器记录。记录该域名由哪台服务器解析 | | PTR记录 | 反向记录,即从IP地址到域名的一条记录 | | TXT记录 | 记录域名相关的文本信息 |
DNS解析IP
①ping
ping + 域名:非权威解答
 ②nslooup
nslookup
域名
非权威解答
 ③dig 还有dig工具,kail系统自带
dig +trace 域名:详细的解析过程
dig @8.8.8.8 域名
@后面是指定的域名服务器
④dnsenum 还有dnsenum工具,kail系统自带
dnsenum 域名
会自动检测域传送漏洞
⑤站长工具 站长之家在线查询,路由追踪。
二、CDN加速的问题
内容分发网络,会隐藏真实的IP地址,本意就是进行节点缓存,加速用户的访问速度。 这个涉及到CDN绕过还原真实IP的操作。
1、判断网站是否使用cdn技术
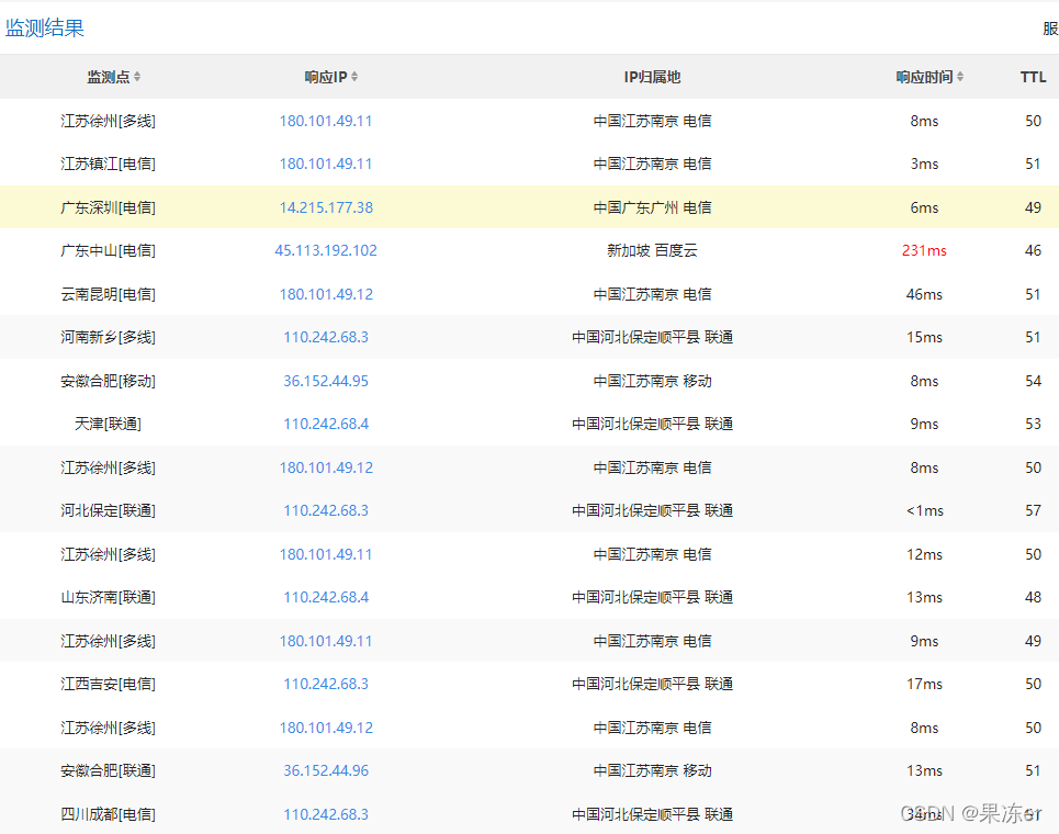
超级ping,这个工具是通过多种地区向目标服务器发请求
比如ping百度的网站,就能得到很多不同的响应IP。 
2、CDN绕过技术——子域名查询
假如子域名和主域名在一个服务器上,主站如果做了子域名服务,分站(也就是下面的子域名)可能没有做CDN服务,由于成本的原因,所以可以通过子域名查询获取真正的IP。
3、CDN绕过技术——邮件服务查询
邮件服务器 当我们给企业邮箱发送邮件的时候,可能会使用cdn服务,就近将我们的邮件反馈给指定的邮箱。 但是当别人给我们发邮件的时候,就不存在cdn服务,一般的邮件系统都在内部,没有经过CDN的解析。
4、CDN绕过技术——国外地址请求
国内的网站没有将CDN节点做到国外,所以国外请求大部分访问的是真实的IP。
5、CDN绕过技术——遗留文件,扫描全网
phpinfo
6、CDN绕过技术——黑暗引擎搜索特定文件
钟馗之眼zoomeye,shodan,fofa
7、CDN绕过技术——DNS历史记录,以量打量
DDos 流量耗尽攻击,就会去访问真实的IP地址。
三、IP查询
IP查询
站长之家
同IP 网站查询
有些网站的域名不一样,但是去ping的时候得到的IP却是一样的,这就相当于是该IP的服务器上面部署了不一样的网站服务,类似于虚拟主机技术实现。 
可以曲线救国,任何一个网站有问题可能都会危害这个服务器。 只要能够进入一个网站,再去访问这个同IP下面的其他网站,走的就是内网了。
通过IP查物理位置
https://www.maxmind.com/zh/home
四、利用搜索引擎搜集信息
google hacking google机器人,爬行全世界所有网站的内容。google hacker就是利用搜索引擎语法,获取有关网站的信息。
site 指定网站
inurl 在url中出现的关键字
filetype 搜索指定文件类型
1、探索网站目录结构
“parent directory” site:testfire.net
2、搜索容易存在sql注入的页面
site:testfire.net inurl:login  所以这个登陆框可能会存在sql注入
3、搜索指定的文件类型
filetype pdf
3、搜索phpinfo()
intext:"PHP Version " ext:php intext:“disabled” intext: “Build Date” intext: “System” intext:“allow url fopen”
4、搜索PHPstudy
intitle:“PHP中文网 探针2014”
五、钟馗之眼
https://www.zoomeye/org/ zoomeye支持公网设备指纹检索和web指纹检索。网络指纹包括应用名,版本,前端框架,
六、shodan.io
https://www.shodan.io/
七、网站信息收集
收集指纹信息 web 服务器信息 火狐插件 netcraft extension wappalyzer
|