一、概述
使用ansible可以自动部署应用程序、对服务器进行初始化配置、安全基线配置、以及进行更新和打补丁操作。
ansible目前是运维自动化工具中最简单、容易上手的一款优秀软件。 ansible服务本身并没有批量部署的功能,具有批量部署能力的是其运行的模块。 基于SSH远程会话协议,不需要客户端; 可以调高工作效率、减少人为失误、降低用工成本。

二、安装
安装环境为:rhel8,该系统镜像默认不带有ansilble服务程序,需要从EPEL扩展软件包获取。
1、配置安装源
在原有软件仓库配置下方,添加EPEL扩展软件包安装源信息
[root@192 /]
[BaseOS]
name=BaseOS
baseurl=file:///media/cdrom/BaseOS
enabled=1
gpgcheck=0
[AppStream]
name=AppStream
baseurl=file:///media/cdrom/AppStream
enabled=1
gpgcheck=0
[EPEL]
name=EPEL
baseurl=https://dl.fedoraproject.org/pub/epel/8/Everything/x86_64/
enabled=1
gpgcheck=0
2、安装
[root@192 /]
3、查询版本信息
安装完毕后,Ansible服务便默认已经启动。使用–version参数可以看到Ansible服务的版本及配置信息。
[root@192 /]
ansible 2.9.27
config file = /etc/ansible/ansible.cfg
configured module search path = ['/root/.ansible/plugins/modules', '/usr/share/ansible/plugins/modules']
ansible python module location = /usr/lib/python3.6/site-packages/ansible
executable location = /usr/bin/ansible
python version = 3.6.8 (default, Jan 11 2019, 02:17:16) [GCC 8.2.1 20180905 (Red Hat 8.2.1-3)]
三、设置主机清单
ansible服务的主配置文件存在优先级的顺序关系,默认存放在/etc/ansible目录中的主配置文件优先级最低。同时存在多个ansible服务主配置文件时,优先级顺序如下图
| 优先级 | 文件位置 |
|---|
| 高 | ./ansible.cfg | | 中 | ~/.ansible.cfg | | 低 | /etc/ansible/ansible.cfg |
1、添加ip及账号信息
管理的主机ip及账号信息预先写入/etc/ansible/hosts文件中。
[root@192 /]
[webserver]
192.168.199.129 ansible_ssh_user='root' ansible_ssh_pass='123456a?' ansible_ssh_port='22'
主机清单分组配置参考
2、修改主配置文件
将主配置文件中的第71行设置成默认不需要SSH协议的指纹验证,以及将第107行设置成默认执行剧本时所使用的管理员名称为root
[root@192 /]
70
71 host_key_checking = False
.....
106
107 remote_user = root
3、测试是否成功
如出现SUCCESS字样,则表示成功:
[root@192 /]
192.168.199.129 | SUCCESS => {
"ansible_facts": {
"discovered_interpreter_python": "/usr/libexec/platform-python"
},
"changed": false,
"ping": "pong"
}
四、模块应用
1、模块
ansible内置上千个模块
ansible-doc -l
ansible-doc 模块名称
常用模块如下图 
2、运行临时命令
在ansible服务中,ansible是用于执行临时任务的命令,在执行后即结束。
ansible 受管主机节点 -m 模块名称[-a 模块参数]
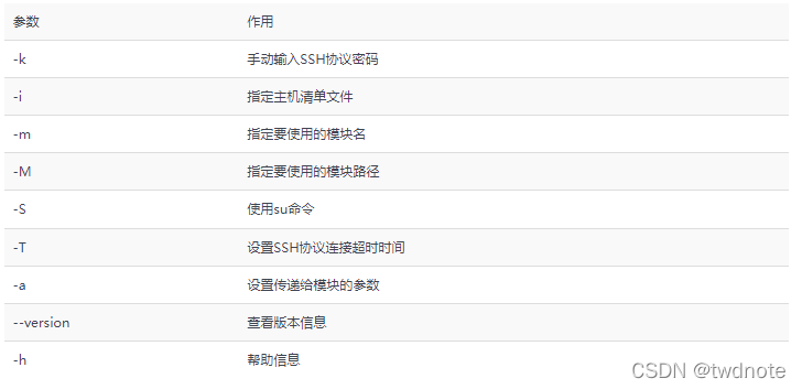
ansible常用参数  现在,想为主机清单中的所有服务器新增一个如表16-7所示的软件仓库,该怎么操作呢? 
[root@192 ~]
EXAMPLES:
- name: Add repository
yum_repository:
name: epel
description: EPEL YUM repo
baseurl: https://download.fedoraproject.org/pub/epel/$releasever/$basearch/
- name: Add multiple repositories into the same file (1/2)
yum_repository:
name: epel
description: EPEL YUM repo
file: external_repos
baseurl: https://download.fedoraproject.org/pub/epel/$releasever/$basearch/
gpgcheck: no
- name: Add multiple repositories into the same file (2/2)
yum_repository:
name: rpmforge
description: RPMforge YUM repo
file: external_repos
baseurl: http://apt.sw.be/redhat/el7/en/$basearch/rpmforge
mirrorlist: http://mirrorlist.repoforge.org/el7/mirrors-rpmforge
enabled: no
参照EXAMPLE实例段,逐一对应填写需求值和参数。如果出现CHANGED字样,则表示修改已经成功:
[root@192 ~]
192.168.199.129 | CHANGED => {
"ansible_facts": {
"discovered_interpreter_python": "/usr/libexec/platform-python"
},
"changed": true,
"repo": "EX294_BASE",
"state": "present"
}
3、剧本编写
Ansible中的剧本详解
|